服务热线:15195518515在线客服:1464856260
传真号码:0517-86801009
邮箱号码:1464856260@qq.com
网 址:http://www.j357b.cn
地 址:江苏省金湖县理士大道61号
一种新型顶装软化水液位计生产加工工艺与结构特点
软化水液位计的安装方式有多种,而顶装是软化水液位计安装方式中较为常见的一种方式。通常,顶装软化水液位计是安装在地埋罐,或者在容器不适宜侧面开孔及侧面安装空间很小时选用。在顶装软化水液位计的浮筒内设有磁浮子,该浮筒外设有磁翻板指示器,该磁翻板指示器和该磁浮子通过磁性耦合作用,对各种塔、罐、槽等设备的介质液位进行检测。为此设计了一种顶装软化水液位计具有与传统顶装软化水液位计不同的工艺和结构,那么,顶装软化水液位计的工艺新在何处?结构又独特在哪里?与传统顶装软化水液位计相比又有哪些优点呢?
一、传统顶装式软化水液位计的工艺结构及弊端
浮筒、容器以及连接用的法兰等的材质多为金属材料,当被测液体为腐蚀性液体时,为防止被测液体腐蚀浮筒或者连接法兰,造成生产安全事故的发生,通常需要采用内衬设计。在传统的顶装式软化水液位计中,浮筒内的内衬通常采用翻边工艺,在浮筒靠近容器的一端形成一个环形翻折部。但受限于浮筒形状、尺寸以及内衬材料的尺寸和特性影响,该翻折部的翻边密封面无法做到很大,加上容器开口通常是大于该翻折部所覆盖的区域,因此造成了容器开口与翻折部以外的金属面(如法兰的表面)相通,从而容易导致这些金属面受腐蚀,*易造成生产安全事故,给生产带来麻烦。
二、顶装软化水液位计的新工艺与独特结构
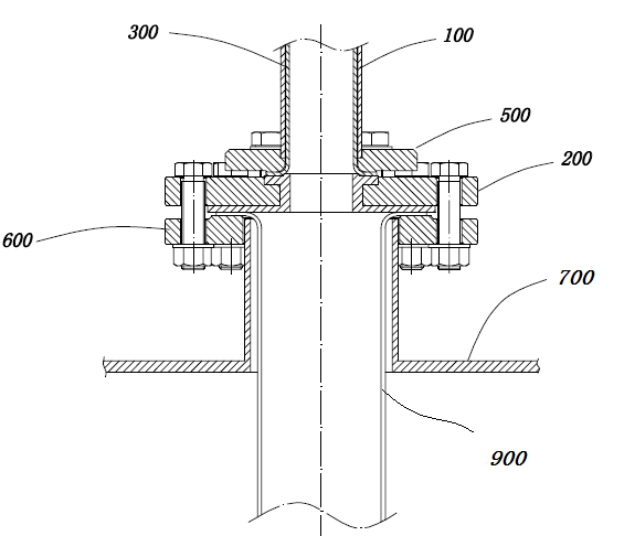
针对传统顶装式软化水液位计的这些弊端,在多次试验的基础上,对现有的内衬工艺与结构做了改进,发明了顶装式软化水液位计的一种新工艺及其结构,如下图所示,其提供了*一连接件和连接内衬。该连接内衬具有用于连通内衬连接口的*一连接口、自*一连接口向外成环形设置的*一密封部、用于与被测容器连通的*二连接口和自*二连接口向外成环形设置的*二密封部。由于该*一连接件和连接内衬为单独设置,可以单独制造,因此*一密封部和*二密封部可以制作的足够大,从而实现*一密封部与浮筒内衬的翻折部密封抵接;同时,连接内衬的*二密封部用于与容器实现密封连接。由此,该连接内衬可以与浮筒内衬和容器开口内的护筒形成完全密封的连接,从而避免连接处的金属面受腐蚀,使生产安全顺利地进行,免受因发生生产安全事故对生命和财产造成的安全威胁。

顶装软化水液位计在生产中的应用表明,该新型内衬工艺有效解决了传统顶装软化水液位计应用中存在的问题,使产品的可靠性大大提高,受到用户的一致认可和好评。



|