服务热线:15195518515在线客服:1464856260
传真号码:0517-86801009
邮箱号码:1464856260@qq.com
网 址:http://www.j357b.cn
地 址:江苏省金湖县理士大道61号
关于耐高温强磁磁翻板液位计(液位传感器)的设计方案解析
本文概述:目前在国内市场上生产与使用的譬如象耐高温强磁磁翻板液位计,浮球式液位变送器都是采用的干簧管进行远传信号的传输,但是由于传统的干簧管式液位计接触点易产生抖动、长期稳定性差等缺点,设计了一种利用开关式霍尔元件作为敏感元件的液位传感器,采用此元件生产的液位仪表稳定性与精确度都得到了很大的提升。本文介绍了其工作原理和设计方案,并利用ANSYS软件对磁性浮子进行了磁场仿真计算,通过分析可根据测量精度确定所需永磁体大小,简化工艺流程,缩减了工作量。该传感器可根据需要输出标准电流信号4、20 m A或数字通信RS-485,并可配备LED现场指示器,实验表明:该传感器具有有效距离大、不易受干扰、响应速度快、可靠性高等特点。建议有条件的单位可以加以推广。
引言
常见的远传液位传感器是利用磁铁驱动干簧管吸合改变同路中的阻抗实现液位测量的,但是这种原理有很多缺点。由于干簧管的触点和簧片相当小而精致,所以难以承受高压或大电流。电流过大时,簧片会因过热失去弹性,接触点*易产生抖动,并且接点接触电阻大等等。
本文设计的液位传感器利用阵列式霍尔开关作为敏感元件感受液位变化,与耐高温强磁磁翻板液位计配合可真止实现液位现场显示和远传。耐高温强磁磁翻板液位计是将与磁铁组成为一体的浮球置于非磁性的金属管中,浮球随养管中的液位上升或下降,管外装有指示单元,指示单元为一系列止而为白色,背而为红色的磁性翻板组成。翻板受磁性浮球移动的吸引而翻转1800,通过颜色的变化来指示液体的液位。指示单元还可以做成LED光柱显示而板,同样通过LED光柱颜色变化指示液位,行业标准为液绿汽红[3 ]。该液位计除了木地显示功能外,还可以配备远传液位传感器,将液位信号转换成4一20 m A电流输出或者数字通信RS-485输出,实现远距离监测和}控制。该系列产品特别适合高温高压、高粘度、强腐蚀性条件下液位的检测。
1传感器工作原理

图1传感器结构示意图
2传感器设计方案
2.1电路设计

图2 传感器电路原理框图
2.2磁场计算
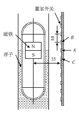
耐高温强磁磁翻板液位计在工程上通常用于锅炉等大型设备液位的测量,因此该液位计长度长,重量大,如若被测设备内部存在较大压力,相应地需要将液位计的壁厚增加,势必会导致液位计重量加大,在传感器调试阶段,需要将浮子内部的磁铁和霍尔开关相匹配,为了避免虚假液位和保证测量的精确度,必须保证任一时刻*多只有2个霍尔开关处于开启状态。若仅利用试验手段反复测试磁铁和霍尔开关的匹配度,需要多次拆装液位计,因此需要在设计阶段准确计算出霍尔开关周围的磁通密度,进而减少工作量[5,6]

图3 霍尔开关与磁铁位置图

图4 磁铁与空气层节点磁通密度云图

图5 35mm空气层节点磁通密度趋势

磁铁大小确定后,根据阿基米德定律计算出浮子的高度,保证磁铁的中心位置与水而处于同一位置,可根据式(1)计算得到磁铁在浮子内的安装位置
4结束语
磁性浮子式液位传感器利用霍尔开关替代了干簧管,提升了传感器的稳定性和可靠性,更适合应用于恶劣环境条件下。在结构设计中,利用ANSYS仿真软件等辅助手段较准确地计
算出磁性浮子的磁场分布,根据测量精确度、霍尔开关的磁场强度阂值、霍尔开关到浮子的距离等己知条件计算出浮子内磁铁的大小,简化了工艺流程,减少了工作量。在程序设计时,
同一时刻仅使一只霍尔开关处于工作状态,降低了功耗,避免了虚假液位。




|