服务热线:15195518515在线客服:1464856260
传真号码:0517-86801009
邮箱号码:1464856260@qq.com
网 址:http://www.j357b.cn
地 址:江苏省金湖县理士大道61号
液氨磁翻板液位计的工作原理结构图
液氨磁翻板液位计是一种现场实时指示型液位计,在各行各业的液位测量中都有广泛地应用。那么,液氨磁翻板液位计的工作原理、产品结构是怎样的呢?本文就此介绍如下,希望大家对液氨磁翻板液位计有更为深入地了解和认识。
一、液氨磁翻板液位计的原理
液氨磁翻板液位计主要基于连通器和磁性耦合原理实现对液位的实时测量和显示。浮筒内的磁性浮子随容器中被测液位的升降而升降,浮子内的永久磁钢通过磁性耦合驱动浮筒外部的磁性翻片翻转180°。翻片两面分别涂有不同颜色(通常为红色和白色),以指示液位的位置,一般地,当容器内液位上升时,翻片由白色转变为红色,当容器内液位下降时,翻片由红色转变为白色,指示器的红白交界处为容器内液位的实际高度。
液氨磁翻板液位计与超声波液位计*大的区别就是接触式测量和非接触式测量。
液氨磁翻板液位计的优势是结构简单、具有高密封,防泄漏等特点,适用于高温、高压、耐腐蚀的场合,显示直观、醒目,测量范围比较广;而超声波流量计的优势是流量测量准确度几乎不受被测流体温度、压力、粘度、密度等参数的影响,又可制成非接触式测量仪表,可解决其它类型仪表所难以测量的强腐蚀性、非导电性、放射性及易燃易爆介质的流量测量问题。
液氨磁翻板液位计作为接触式测量仪表,需要考虑的与介质接触的防腐性材质问题,而超声波流量计则不需要考虑。虽然超声波液位计也可以测量腐蚀性介质,但是一旦出现挥发性介质,就另当别论了。当介质内出现真空啊、蒸汽含量过高、以及液面泡沫等情况时是不能选用超声波液位计的,而液氨磁翻板液位计对这一系列工况毫无影响。超声波液位计虽然测量先进度方面比液氨磁翻板液位计先进,但是安装方面比较复杂,测量介质限制条件比较多,一般情况下啊,测量液位都选择液氨磁翻板液位计,只有当液氨磁翻板液位计不适用的时候,才考虑超声波液位计或者雷达液位计。

液氨磁翻板液位计的工作原理图
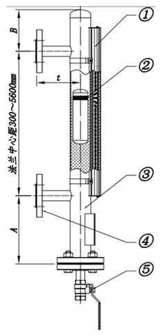
二、液氨磁翻板液位计的结构
液氨磁翻板液位计的结构由浮筒(主导管)、磁浮子、磁翻板(磁翻柱)、指示器、排污阀、连接法兰等组成。如下图所示:

液氨磁翻板液位计结构图
①指示器;②磁浮子;③浮筒;④连接法兰;⑤排污阀



|