服务热线:15195518515在线客服:1464856260
传真号码:0517-86801009
邮箱号码:1464856260@qq.com
网 址:http://www.j357b.cn
地 址:江苏省金湖县理士大道61号
液氯液位计的工作原理
发布时间:2021-11-26 09:25:36??点击次数:1965次
液氯液位计广泛应用于水、盐酸、硫酸、硝酸、工业废水、药液等各种液位的测量。那么液氯液位计是如何工作的?其结构又是怎样的呢?本文拟结合液氯液位计的原理及结构图介绍如下。

液氯液位计是基于连通器和磁性耦合原理实现液位实时测量的。当被测容器中的液位升降时,浮筒内的磁性浮子也随之升降,浮子内的永久磁钢通过磁性耦合驱动浮筒外部的磁性翻片翻转180°,翻片两面分别涂有不同的颜色(通常为红色和白色),以指示液位的位置。一般地,当容器内液位上升时,翻片由白色转变为红色,当容器内液位下降时,翻片由红色转变为白色,指示器的红白交界处即为容器内液位的实际高度,从而实现液位的准确测量。
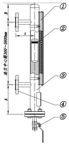
液氯液位计结构图如下:

在上面的液氯液位计结构图中:
①为指示器,也称做显示面板,指示器起着就地显示的作用,方便远距离观察液位的实际情况,指示器一般与浮筒捆绑在一起,方便安装。
②为磁浮子,磁浮子位于浮筒里面,与被测液体直接接触,当被测容器中的液位升降时,磁浮子也随之升降,从而指示当前的液位。磁浮子根据不同的液体密度有不同的选择,同时根据不同的液体酸碱性有不同的材质选择。
③为浮筒,浮筒通过过程连接与被测容器连接在一起,从而形成连通器,实现液位的测量,浮筒的材质根据不同的液体性质有不同的选择,例如不锈钢304、316L、内衬、PVC等等。
④为连接法兰,过程连接法兰是浮筒与被测容器之间的连接小管上的紧固件,根据不同的液体性质,不同的工况,有不同的压力和直径选择。两个连接法兰之间的距离为液氯液位计的测量量程。
⑤为排污阀,排污阀是浮筒下面的配件,当液氯液位计需要清洗或调试时,能够起到关键作用。



|